
After the holidays, it’s not unusual for many people to regret their yuletide season bingefest and have health and weight loss goals among their New Year’s resolutions. Of course, this means having to change your diet like eating healthier foods and exercise like getting more of it and hitting the gym. Retailers have taken notice of this and it’s no surprise that the January catalogs are filled with all kinds of health and fitness stuff in order to help you shed the holiday pounds. They also expect that most people who resolve to lose weight or improve health won’t be sticking to it by February. And by then all that health and fitness stuff will be listed at large discount prices. But you can bet that it will be all advertised again in the spring once Easter is over and bikini season is around the corner. Then again, at that point most people prefer to exercise outdoors, anyway. As for me, I prefer to go for a walk around the nearby roads of my house except when it’s unbearably cold or rainy. Now fitness equipment has existed in gyms and homes for a long time. What you see in this picture consists of the kind of fitness equipment you’d find at any gym or weight room. Yet, since a lot of people don’t have much access to a gym and are willing to try anything to lose weight in the laziest way possible, you tend to see a lot of fitness gizmos being marketed to the masses through infomercials and catalogs. And yes, they can be rather ridiculous Rube Goldberg devices that make inventions you see on Wallace and Gromit seem to make perfect sense (like Wallace’s machine to help him get up in the morning). But it doesn’t stop many of them becoming fads of their own, despite having a ridiculous premise behind it, appearing like something you’d find in a torture chamber or sex dungeon, make you look like a ridiculous idiot, and possibly carrying health risks. So for your viewing pleasure, here are some crazy fitness equipment that will make you scratch your heads in confusion or help shed some pounds through uproarious laughter. Some of these might not be safe for work by the way.
- Free Flexor

I guess this is among the latest in homoerotic work out equipment that flexes all your arm and shoulder muscles. Also, gives you a 6 minute 3D masturbation experience. And you thought the Shake Weight was inappropriate.
2. Treadmill Bike

For those who like the run in place while you’re riding your bike, this is for you. Still, if you like running on a treadmill and the great outdoors, there’s always a cheaper option: running outside. Also, it looks like a scooter.
3. Fitness Equipment for Children

Because why should kids be exempted from the adult gym experience when there’s a childhood obesity crisis on our hands? Besides, little Bobby needs to learn how to bench press if he wants to play in Pee-Wee wrestling or football.
4. Hawaii Chair

From Huffington Post: “Constantly doing the hula at the office will definitely boost productivity and encourage a fun work environment.” Yeah, until someone pulls a ham string on this one.
5. Slendertone Belt

So I suppose this is a magical vibrating belt that’s guaranteed to give anybody rock hard abs without doing any work on it. Worn by a guy who probably has his own personal trainer and spends countless hours in the gym.
6. Ab Rocket Twister Abdominal Trainer

From Greatist: “Five minutes a day to “sizzling rock hard” abs? After a $14.95 30-day trial, some users beg to differ. And while the Ab Rocket might do something for that midsection, the neck and back supports aren’t exactly cushy, and the whole “workout-plus-massage” part? Talk about failure to launch.” Yeah, it looks fairly uncomfortable.
7. Big Wheel Skates

Trying to skate whether on ice or on roller blades does give you some share of injuries with trips, slips, and falls. However, I think skating on these not only looks more dangerous, it also makes users look like complete idiots.
8. Dumbell Utensils

Because there’s no need why you should stop lifting weights in order to grab a bite. Just make your meals part of your exercise routine with these heavier utensils that make eating dinner really hard to bite into. Might encourage you to eat with your hands.
9. Steam-O-Belt

Now this belt operates on the premise that sweating helps you lose body fat (like sauna pants and a lot of other things). Uh, that doesn’t work my friend. Of course, such facts didn’t get in the way of Lord Byron trying to sweat off his weight by wearing layers of waist coats. May not have worked by at least he looked better than these people.
10. Health and Beauty Belt Massager

You may see this thing in many old movies, TV shows, and cartoons. And yes, they’re still being made. Still, it’s said that this belt sends a vibrating wave targeting areas of excess fat. So how does that work?
11. Horse Riding Fitness Ace Power

This one is from South Korea, which is designed, according to the manufacturer and I kid you not, “for those who like to ride the horse in front of TV and in home comfort of their own space.” Like a stable with its own TV? Seriously, how is a portable piece of stationary exercise equipment like riding a horse? I don’t get it.
12. Face Trainer

I think this is supposed to tone your face to prevent sagging wrinkles through face exercising. I am not making this up. Still, not sure if my head confined to something like that.
13. Shake Weight

Of course, I couldn’t ignore this one since it has been mercilessly mocked on SNL, Daily Show, South Park, and anywhere else. Helps you get in shape with suggestive pulsating motion as seen here. And yes, they make one for men.
14. The Bounce Back Chair

It’s supposed to combine the cellular exercise of rebounding with the safety and comfort of a chair. Of course, they also claim that bouncing, “remove toxins, strengthen the immune system, and help build strong healthy cells.” Really?
15. Thigh Master

This is another famous product that started the whole fitness “as seen on TV” thing. Still, so in order to get great thighs like Suzanne Somers, I just have to work out with this pool noodle clamp thing between my legs. Not sure if I buy it.
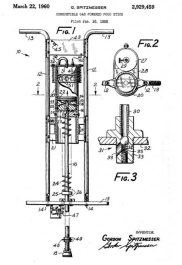
16. Combustible Gas Powered Pogo Stick

Part pogo stick, part jackhammer, this will help you shed pounds faster than you can imagine. Available during the 1960s, but it’s no longer in production for obvious safety concerns. Think of riding a jackhammer without a hose tethering you to a compressor.
17. Ab Lounge Chair

Not sure if it’s guaranteed to give you rock hard abs. However, if you’re also part of the BDSM community, I assure you won’t be disappointed.
18. Leg Magic X

This is an exercise machine designed for building leg muscles in senior citizens. You’re supposed to spread your legs and stand on it for 60 second sessions throughout the day. Nevertheless, it doesn’t provide much utility for $150.
19. Bucking Bronco Exercise Machine

Apparently, in the olden days, working out at the gym had a lot of similarities to riding a mechanical bull. Wonder how many injuries that caused.
20. The Rack

Don’t get me wrong, but this looks like a complete rip off to me. I mean if I wanted to work out like that, it would be cheaper for me to go over to my grandparents’ house, steal my grandpa’s walker, and exercise with that (which I wouldn’t do in real life). This guy must feel like a complete idiot.
21. Electric Corset

So if wearing a shapewear garment that crushes your internal organs wasn’t bad enough for women at the turn of the century. There was even a corset that was supposed to relieve their ills through electroshock. Said to relieve Nervous Debility, Spinal Complaints, Rheumatism, Paralysis, Numbness, Dyspepsia, Liver and Kidney Troubles, Impaired Circulation, Constipation, and Diseases Peculiar to Women. Not surprisingly, the guy who came up with this idea was a well known quack.
22. Dr. Kellogg’s Battle Creek Vibratory Chair

No, this isn’t an execution device. It’s a therapeutic vibrating chair that was invented by the guy who’s name will be forever associated with a cereal brand. It was said to shake rather violent and be painful to sit on.
23. Wonder Cycle Exercisulator

From Diettogo: “This device from the 1930’s is supposed to simulate the riding of a horse as you press down on the pedals. Wearing the headgear simply gives you extra style points.” Of course, it might be a fine addition to your sex dungeon if you’re into that sort of thing.
24. Ab Roller

I think my high school has one of these things. It’s supposed to make doing sit ups easier by negating the lifting of one’s head while also giving them something to hold onto. Still, I might’ve tried to use one of these, but I couldn’t really do a sit up with it.
25. Human Exercise Wheel

Because there’s absolutely no reason why you shouldn’t have the same endurance work out method as your hamster. Seriously, this is just so ridiculous that you’d think it’s a joke. Sorry, but it’s a totally real thing.
26. Tug Toner

If you didn’t think the Shake Weight or the Free Flexor didn’t give you a workout that you’d be embarrassed to do in front of the kids. The Tug Toner provides the ultimate suggestively vulgar workout. Costs only $39.95 with shipping and lots of handling.
27. iGallop

From Complex: “We have our doubts that anyone has actually purchased this machine. It is our belief that it was engineered to produce a series of softcore porn infomercials starring girls in bootie shorts and cowboy hats. But, if you believe a half-hearted version of horseback riding is a great workout, and you are unable to get laid (as the workout has certainly similarities to the motions you go through in the sack) … well, this is the machine for you.” This kind of makes sense if you think about it.
28. The Europlate Vibraslim

So in order to lose weight and get fit, I could stand on a vibrating platform for a few minutes. So how is this exercise? Because I don’t think standing on something that’s vibrating necessarily is.
29. Tony Little’s Gazelle Freestyle

From Complex: “In his long and infamous career, Tony Little has produced enough fitness-related garbage to have this entire list to himself. With such inventions as Tony Little’s Cheeks Health Sandals to this atrocity, Little has made a career as a douchey fitness mad scientist. At least mad scientists tend to keep to themselves, chill in their lairs, and avoid sexual harassment.” It’s said that the informercial for this almost resembles a porn video.
30. Dr. Kellogg’s Stomach Roller

Created by Dr. J. H. Kellogg, this was one of the early exercise machines that promised great abs. Not sure whether it worked or how it was supposed to accomplish that.
31. Power Wheel Pike

It’s a wheel you’re supposed to do push ups with. Nevertheless, uni-cyclists can be happy that this product makes them seem normal in comparison.
32. Push Up Pump

This one is supposed to help you with push ups. Of course, those who are push up challenged like me might save $100 if they use the same strategy as I do for a push up. You know, do knee push ups instead. Works just as well.
33. Red Exerciser

This is supposed to swivel your way to a healthy body. Just sit down on this red stool, hold tight, and twist. Also doubles as a rather overpriced bar stool.
34. Relax-a-Cizor

From Life Aura: This contraption should win an award somewhere for being the most ludicrous invention ever introduced to humankind! The poor women who had tried the vibration to no avail somehow became convinced that allowing themselves to be shocked via electricity would help! The Relax-a-Cizor was sold to over 400,000 unsuspecting victims before it was finally taken out of circulation, due to some very nasty side effects, including miscarriage, irregular heart rhythms, and aggravation of a number of underlying medical conditions. What a shock that is! No pun intended of course.” Available during the 1960s.
35. Slender Salon

So I guess one of the few ways for women to get into shape in the 1950s is to sit on a chair with springs around their legs. And they could do their knitting in the meantime.
36. Slendertone Bottom Toner

From Spot Me Girl: “With 99 intensity levels, your bottom isn’t the only thing it’s looking to tone! (seriously, why are all the vibrating things for women?)” She has a very good point. Still, this looks so ridiculous.
37. Walk Station

Basically, it’s a treadmill for your work station that allows you to walk in place as you work. From Spot Me Girl: “This actually isn’t weird at all. It’s the fastest way to sound out of breath to your clients and the best way to smell awful at the office.”
38. Jump Snap- The Ropeless Jump Rope

Now you can jump rope without ever having to worry about getting tangled in an an actual jump rope. Only catch is that it makes you look like a complete idiot in public.
39. Abdoer Twist

From Huffington Post: “This piece of “equipment” looks like a horrible cross between office chair and virtual reality ride, I’m nauseous just looking at it.” Actually an office chair and virtual reality cross would be more fun than this thing.
40. Slendertone System Shorts

Also known as vibrating Spanx as you can see. Are Spanx supposed to vibrate and help you lose weight? No.
41. Teeter Hang Ups Gravity Boots

From Complex: “The fitness benefits of hanging upside down are … absolutely zero. But if you can’t fight the urge to defy gravity, we urge you to lock the door. You don’t want to get robbed, pranked by mischievous roommates, or have a visit from a vengeful ex while you are stupidly stuck in these.” Has a good point.
42. Gliding Discs Exercise System

From Huffington Post: “Just what you’ve always wanted, two pieces of slippery plastic to help make your workout tougher and infinitely more dangerous. Place it under your feet then attempt a lunge! Watch out when you fall right on your face.”
43. BeamFit Balance and Exercise Beam

From Huffington Post: “This one is super complicated. For $80 you can try to walk in a straight line.” Seems like a ripoff to me. I can walk in a straight line for no money at all.
44. Cool Shapes

Another pair of exercise Spanx. But this time, you insert ice packs to freeze your body fat off. Not sure if it works, but I wouldn’t want to put ice packs in my pants to lose weight. What am I nuts?
45. Body Blade

Now you can get in shape while reenacting your Robin Hood or Katniss Everdeen fantasies. Also makes you look like an idiot since it doesn’t come with arrows or a bowstring.
46. Molby Revolving Hammock

From Slip Talk: “By the time the roaring 1920’s emerged, corsets were on their way out. However, inventors and scientists found new and exciting ways to combine painful bondage into passive fitness methods.”
47. High Tech Ride iJoy

From Huffington Post: “Get six-pack abs and simulate riding a mechanical bull with the High Tech Ride iJoy. All you need to do is ‘sit back, keep your balance and have fun.'”
48. Mechanized Magic Beauty Chair

From Life Aura: “The Magic chair made its debut in 1936 and offered a variety of ways to help a woman lose weight and become more pleasant to the eyes, simply by sitting in this nifty chair. The idea was that rigorously twisting the poor woman from side to side would somehow correct her posture, chip away at water retention in her ankles, slim her chin and all kinds of other lovely things! Never mind that not everyone sitting in this chair even had a crooked spine to begin with, perhaps after though!” Looks more like a torture device to me than a beauty chair.
49. Wonder Lounge Exerciser

It’s a lounge chair that doubles as a workout mat. Wonder if anyone has gotten squeezed inside during assembly.
50. Sit Fit Exercise Device

From Huffington Post: “For those who always wanted to grate cheese with their feet but never developed the right muscles.” Looks pretty painful, especially with heels.
51. Peddler

From Huffington Post: “Stimulates leg circulation anywhere! Also, tense coworkers can lie beneath your desk and put product between their shoulder blades for an easy massage.” Makes a convenient doorstop.
52. Portable Home Gym

From Huffington Post: “Perform hundreds of exercises including throwing pieces of metal against the wall in frustration.” You can say the same about some of the other devices on this post. Still, this ad makes it seem so fun.
53. Arm Exercise Weights

Now you can get in shape at work while wearing an arm band with weights. Might weigh you down while you’re trying to do your job.
54. Slimming and Toning System

From Huffington Post: “Full disclosure: Any product that requires users to take off their off their pants takes a little while to get used to. But fitness-minded friends will understand that sometimes, extreme toning calls for extreme measures. “
55. Talking Hand Exerciser

You’re supposed to work your arm muscles by squeezing it. But squeezing it too hard might make this product scream in pain.
56. 2-Step Under-Desk Dancercise for Feet

From Huffington Post: “Not only should you not be “dancercising” at your desk, but we’re pretty sure you can do whatever this product suggests using, well, your own two feet.”
57. The Velcro Home Jogger

Because nothing makes a great workout than running in place in your own living room. Maybe if you want to go running, perhaps go outside.
58. Under-Clothing Resistance Weights

They’re weights you wear under your legs in order to get fit. Just make sure you don’t wear them while swimming. Or if your boss might throw you in the lake.
59. Speedfit Portable Treadmill

A treadmill is stationary equipment for people to run in place. It should stay that way. Seriously, a treadmill with wheels is just idiotic.
60. Shape Up Dumbbell Alarm Clock

Some people tend to work out first thing in the morning. But this is just ridiculous. Seriously, why?
61. Dr. Weener’s Stud Master

From the box, “At last – an exerciser that conditions the one muscle that all other machines ignore!” I wonder what that could be. Looks rather phallic. Oh, that’s what it’s for.
62. The Upper Body Aerobic Exerciser

How is this supposed to exercise your upper body? All this looks to me is just a couple of rings melded together with bolts and handles. Also seems like a less erotic alternative to the shake weight than anything.
63. The Speedboard

It’s supposed to be a treadmill without a motor and it’s powered by gravity and your ability to lift the weights. So how is this a treadmill?
64. Dumbell Phone

Now you can lift weights while you’re on the phone. Of course, you’ll have to keep it up during the entire conversation unless you switch hands from time to time. Also, it’ll make you look incredibly stupid in front of your kids.
65. Vibrating Platform

This is what a vibrating platform looked like during your grandparents’ day. Resembles some sci-fi styled torture device. But I’m sure those springs are electrically charged.
66. Ab Crunching Machine
This was an invention by Dr. Gustave Zander. And this was how 19th century men tried to get those rock hard abs at the gym. Yeah, it kind of looks like something you’d see in Steampunk sex dungeon. But a man had to work out in his suit.
67. Push Up Machine
This mechanism makes it easier for a Victorian gentlemen to do push ups or leg presses. Also, had to do them in his suit just to remain proper.
68. Adult Jungle Gym
Allows adults to exercise their whole body at the gym. Or a rich Victorian gentleman’s sex dungeon. Makes me wonder whether Dr. Zander had some fetish with bondage.
69. Gentleman’s Leg Press

This fitness device is supposed to strengthen your lower body by placing your feet on some large drum with their shoes off. Now I wonder how this is supposed to work. Guy just looks like he’s keeping his feet warm to me.
70. Work Out Frame Bench
Yhis boy seems to enjoy working out on that piece of equipment. Kind of like I did in high school whenever I had to spend gym class in the weight room, which was a lot during the colder months. God, I used to hate it there.
71. Power Spin

Said to: “Delivers arms and abs to be proud of.” It’s around tube with a ball in it that you just wiggle around for a long time with repetitive wrist motions. So it’s more likely to give you Carpal Tunnel Syndrome than great abs and biceps.
72. Lady’s Body Harness

So I guess this is one of the few acceptable ways a Victorian lady could get in shape at the gym. Doesn’t really seem to do much. Seems like an early vibrating belt to me.
73. Love Handler

It’s supposed to help you sculpt your body by helping you get rid of your love handles. Uh, I don’t think spot fat removal works that way. Eating less and more cardiovascular exercises is more effective.
74. Panasonic Core Exercise Trainer

From Scooby’s Workshop: “There are much less expensive ways to train your core and they don’t take up half the room! To their credit they don’t make any unreasonable claims.” And don’t cost $2000 either. Buying a yoga mat and DVD is a better investment.
75. The ViPR

It’s said that you can do over 9,000 exercises with this. You know what else you can do thousands of exercises with? A floor.
76. Facial Fitness Pao Smile Trainer

Because nothing firms your face like a mouth plug with blades on it. Product from Japan. Seriously, why the hell does this even exist? Why?
77. The Sizer Upper

I call this the “Sizer Upper” because all I think they’re doing is sizing each other up. Not sure how that gets you exercise.
78. Ab Circle

Said to help you get great abs by helping you twirl in circles. Looks like some small stool with knee rests and handles to me.
79. Facial Lift Atonce

Again another plug for your mouth that’s said to help prevent wrinkles and also makes you seem like an idiot. Probably doesn’t work.
80. TRX

It’s a large fitness rack that seems to cost a lot and take up a lot of space. You’re supposed to work out on it with ropes. A swing set or monkey bars would make more sense.

Please stop using “now” and “of course” so much, it makes your writing sound redundant and like you’ve never had a writing class.
In fact I have to unsubscribe. Sorry.
I wonder what percentage of these exercise gadgets were actually used more that a week or two? Some of them are crazy!
Exercise equipment is any apparatus or device used during physical activity to enhance the strength or conditioning effects of that exercise by providing either fixed or adjustable amounts of resistance, or to otherwise enhance the experience or outcome of an exercise routine